数据中台管理系统

以诚为本赢在诚信9001数据中台管理系统是一个高可靠、高稳定、高安全、高性能、高可扩展、高易用性的数据存储、计算、分析和管理平台,旨在帮助用户快速归集数据、快速构建数仓、快速创建数据服务并实现企业数据资产的可见、可用、可运营,助力客户实现消除数据孤岛。基于大数据技术生态,结合建筑企业对数据中台需求,本系统提供了从数据规划、规范建模、数据集成、数据开发、数据质检、数据安全、数据服务、数据资产的一站式数据中台产品功能

核心价值

覆盖更多的数据工作场景

提供数据整合和共享、数据质量和准确性、数据安全和合规性、数据分析和洞察,以及数据驱动的业务创新等多方面的支持。这使得组织能够更好地管理和利用数据资产,实现业务目标和战略愿景

提升工作效率

数据中台通过数据集中管理和访问、数据整合和清洗、自助数据查询和分析、自动化数据处理和工作流程,以及数据共享和协作方面的支持,提升了工作效率。这使得组织能够更快地获取和处理数据,更高效地进行数据分析和决策,包括成本控制、资源调配、风险管理等,从而提高了整体的工作效率和生产力


降低企业数据治理成本

通过提供统一的模型管理、质量管理、数据安全与合规性管理、数据集成以及自助数据服务等功能,降低了数据治理的成本。通过减少数据冗余和不一致性、提高数据质量、简化数据集成和交换、增强数据安全与合规性管理,并且赋能业务用户自主获取和使用数据,数据中台有效降低了数据治理过程中的工作量和成本,提升了数据治理的效率和成

让数据更好用

数据中台解决方案通过数据集中管理和访问、数据整合和清洗、自助数据查询和分析、数据可视化和报告,以及数据共享和协作等方面的支持,使数据更易于找到、整合和清洗,用户能够自主地进行数据查询、分析和可视化,团队内外可以共享和协作使用数据,包括项目进度、材料清单、施工计划等。这将提高项目管理的效率和协同性,加快项目进展,减少沟通成本和风险,使数据更加易用和有用,能够更好地支持业务决策和创新,提升组织的效率和竞争力

功能介绍

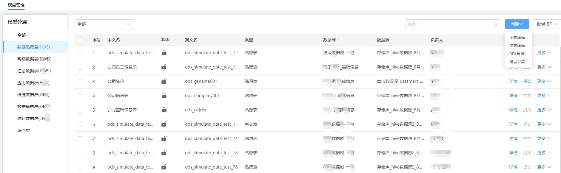
  • 规范建模

    规范建模是数据治理的血肉,开发、管理、使用的都是数据,为了消除数据孤岛,数据要统一管理,以诚为本赢在诚信9001基于行业积累,制定了贴合建筑行业业务发函的标准数仓模型,为行业客户的数仓设计保驾护航

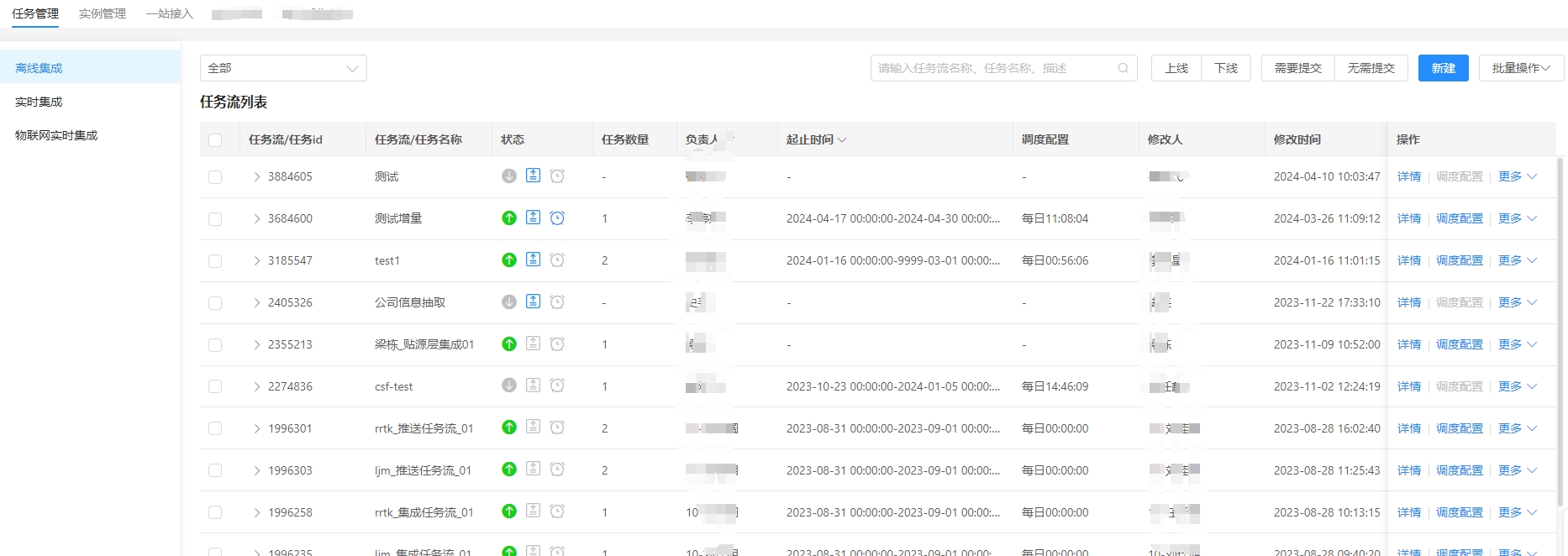
  • 数据集成

    针对各种异构数据源接入的需求,定时增量抽取同步关系型数据,也可采用文本文件方式等多种针对性的接入方式和工具

  • 数据开发

    数据开发模块提供了一整套数据加工计算以及过程管理的工具,提供离线、实时、开发工具,以及任务的管理、运维、监控、告警等一系列及工具,方便使用,提升效率

  • 质量中心

    以数仓中的数据源以及源数据入仓前的数据为监控对象。针对这些数据,使用路径为,通过设定质量规则,分析目前已有的数据,暴露数据问题,实现时候的数据质量监控分析

  • 数据资产

    对平台数据资产进行盘点,构建数据资产目录,对平台元数据进行管理,梳理数据的血缘关系、数据地图等